Telecom juggernaut AT&T—best known for its award-winning innovations in consumer exploitation and technology suppression—recently filed a patent for a transfer-based bandwidth allocation system. The patent (US20140010082 A1) aims to leverage recent degeneration in net neutrality laws to creatively charge consumers more for specific types of internet usage. For instance, file-sharing, video streaming and downloading, and certain types of game patch distribution methods could result in accounts being flagged for increased billing in AT&T's new system.
The new patent is entitled "Prevention of Bandwidth Abuse of A Communications System." AT&T, however, requires no editorial assistance in making their own patent sound evil, stating in its abstract (bold for emphasis):
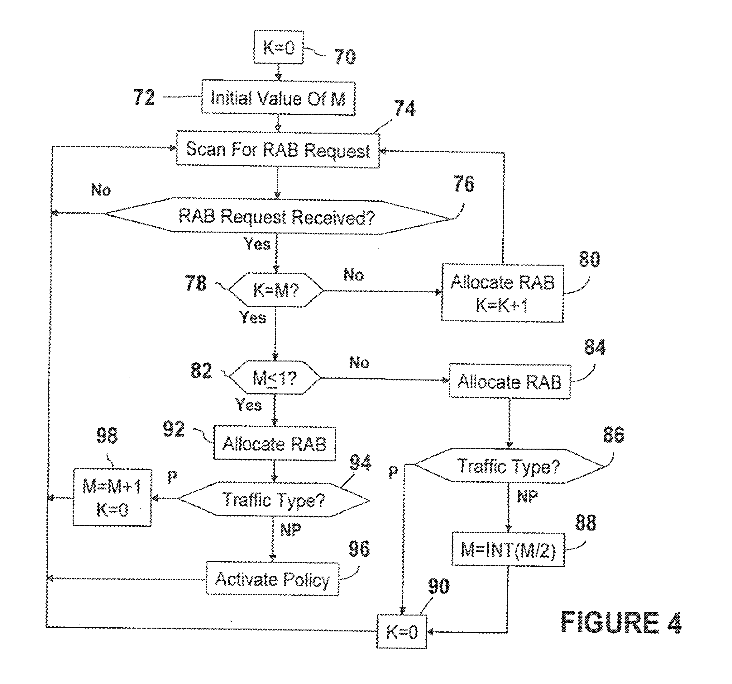
"A user of a communications network is prevented from consuming an excessive amount of channel bandwidth by restricting use of the channel in accordance with the type of data being downloaded to the user. The user is provided an initial number of credits. As the user consumes the credits, the data being downloaded is checked to determine if is permissible or non-permissible. Non-permissible data includes file-sharing files and movie downloads if user subscription does not permit such activity."
In other words, AT&T is giving you an allowance for certain data types (credits) and will require special "subscriptions" to perform popular data transaction methods and data download activity. It would not be unfounded to assume a special "movie package" will exist for internet users, potentially charging more for legal file streaming and file sharing.
There are a lot of reasons you should be furious, but just one of them includes—as this is a gaming website—video game downloads and patches. A shocking number of modern multiplayer games utilize an underlying peer-to-peer framework (similar in functionality to torrents) for rapid game download and update distribution. When you've got a game like League of Legends - reported at 30+ million active players - it's smart network engineering to permit P2P patch downloads. Such a P2P network allows players to make partial file requests from the core servers and the other thousands of actively-downloading players; this effectively leverages each player as a frontloaded content delivery system, which decreases server costs for the host game company and accelerates the download-rate for players. In large part, this type of delivery system is why we no longer spend hours to download moderate-sized patches when a server is under severe load/requests.
Under AT&T's new patent, this type of file transaction could be against core Terms of Service and result in penalties or additional charges. Not a League player? Don't fear, other popular games also rely upon peer-to-peer networks for file transfers - like everything Blizzard makes: World of WarCraft, StarCraft II, and Diablo III (source).
Interestingly, the patent could be used to restrict video streaming from services like Netflix, YouTube, and Hulu, all of which compete with AT&T's own cable television package and on-demand services. By "spending" credits every time a user streams a video, they'd have to purchase additional credits, risk termination, or bank usage habits to appease AT&T's networking overlords.
This patent comes at a time when the FCC net neutrality legislature was denied by a Washington Federal Appeals court, opening the
What a marvelous start.
Unfortunately, none of this is all too surprising. When we've got US Members of the House voting on SOPA and stating "bring in the nerds" -- referring to Google cryptography and networking PhDs -- it's clear that there's a distinct lack of respect for and understanding of the technology.
As a small business operating entirely on the internet, it should be noted that such patent claims and legislation strike-downs as these could deeply cripple our site's ability to operate (see: video uploads to our servers).
Data is data, AT&T. The wire doesn't care what it's being used for. Get over yourselves.
- Steve "Lelldorianx" Burke.
